“孩子出生在哪国,就自动是那国人。”这句话正在被越来越多发达国家悄悄打脸。
曾经,赴美生子是身份捷径;现在,川普领导下的美国都不想继续“落地给护照”了。
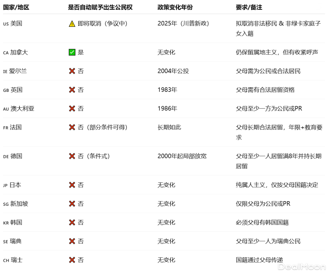
发达国家早就不认“出生=国籍”了
川普政策的全球溢出效应
虽然还没正式生效,但已经引发连锁反应:
1. 全球加速“去出生公民权”
很多国家可能会以“美国都取消了”为由,跟进修改本国法律。
2. 增加“半无国籍”人口风险
父母没身份、原籍国不认、生国不认,孩子可能一出生就是“无国籍者”。
3. 生子移民策略将被重写
曾经去美国、加拿大、巴西等国生子换护照的做法,未来越来越不可行。
身份规划将更偏向:
- 投资移民
- 留学转身份
- 父母合法居留先行
国籍”未来不再是权利,而是配额,斯坦福大学社会学者指出:
“国籍不是出生的自然结果,而是国家筛选出来的准入许可。”
未来趋势可能是:
- 实行积分制获取国籍(如澳洲、加拿大)
- 与教育、经济能力挂钩
- 原本开放的国家逐步走向封闭
未来,能不能拿某国护照,不取决于你在哪出生,而是你是谁、你父母是谁、你能带来什么。川普也许不是一个例外,而是全球趋势的一环。
最新评论 7
: 沒有福利,哪個鬼會要美國國籍? 沒有福利,哪個鬼會要美國國籍?
: 用西班牙语去发在X上问问看~ 用西班牙语去发在X上问问看~
: 指點江山![[二哈]](/assets/emoji/comment-emoji/dm_erha@2x.png?v=1)
![[二哈]](/assets/emoji/comment-emoji/dm_erha@2x.png?v=1)
指點江山![[二哈]](/assets/emoji/comment-emoji/dm_erha@2x.png?v=1)
![[二哈]](/assets/emoji/comment-emoji/dm_erha@2x.png?v=1)
:
:
:![[赞]](/assets/emoji/comment-emoji/dm_zan@2x.png?v=1)
![[赞]](/assets/emoji/comment-emoji/dm_zan@2x.png?v=1)
: 🤔 🤔